1.產品介紹
邦信公司生產的去耦合器采用固態技術非金屬殼體,能控制管道上交流雜散電流或雷電流對埋地管道的影響,延長管道的使用壽命。同時,又能防止雜散電流在管道上匯集后對人體的危害以及對通信線路的干擾。
作為直流隔離和交流耦合裝置,BX-SSD/EX-100用于防止陰極保護電流達到預定的閾值電壓,同時還能傳導感應的交流電。當電壓力圖超過閾值電壓時,SSD立即切換到短路模式,以提供過壓保護.當過電壓過去之后,又自動切換回到直流隔離模式。這樣的運行方式可以進行無數次,這通常是由于交流故障電流或雷電電流引起。SSD的標準閡值電壓為-2V/+2V。閾值電壓可以是absolute value電壓,或峰值電壓,在此電壓處切換發生,此電壓為跨于隔離器兩端的市流和交流峰值電壓之和。這使跨于SSD端子上的箝位電壓很低。
BX-SSD/EX-100固態去耦合器可用于危險的場合(2類2區)。
2、主要技術參數
|
序號 |
項目 |
參數 |
|
1 |
直流啟動電壓(1mA) |
-2V/+2V |
|
2 |
沖擊通流容量(8/20?s) |
100kA |
|
3 |
穩態電流 |
45A |
|
4 |
漏電流 |
≤15μA |
|
5 |
故障電流 (AC-rms/工頻/30周波) |
≥3500A |
|
6 |
工作溫度 |
-45~+60℃ |
|
7 |
防護等級 |
IP65 |
3、應用范圍
管道電位梯度墊(接地墊)的去耦合
對設備進行過交流故障、雷電和開關暫態過程的電壓保護(如:絕緣接頭、絕緣法蘭)
為了safe,用于不同的金屬間的去耦合,這些金屬在某種情況下會產生交流耦合。
在陰極保護系統中,電氣設備的交流接地和直接隔離
為了減少交流感應電壓的場所
|
序號 |
試驗項目 |
試驗條件 |
試驗后檢驗項目 |
|
1 |
低溫工作試驗 |
GB/T2423.1-2001 |
檢測啟動電壓、絕緣電阻和外觀。 |
|
2 |
低溫儲存試驗 |
||
|
3 |
高溫工作試驗 |
GB/T2423.2-2001 |
|
|
4 |
高溫儲存試驗 |
||
|
5 |
恒定濕熱試驗 |
GB/T2423.3-1993 |
|
|
6 |
隨機振動試驗 |
GB/T2423.10-1995 |
檢測有無機械損傷、不見脫落;檢測啟動電壓、絕緣阻和外觀。 |
|
7 |
沖擊試驗(帶包裝) |
GB/T2423.5-1995 |

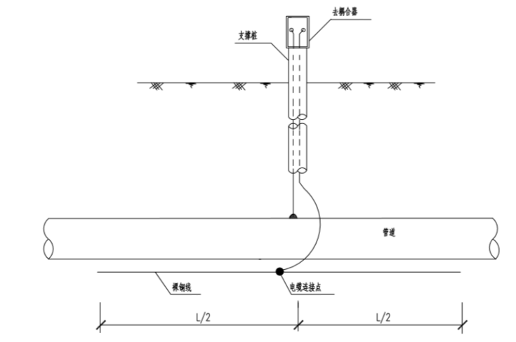
固態去耦合器安裝示意圖(剖面)